工业相机定制化开发全流程解析
发布时间:2025-10-31
浏览次数:796
工业相机定制是从需求分析到量产交付的系统工程,通过科学的流程管理和专业的技术方案,为机器视觉应用提供精准的成像解决方案。
工业相机定制是从需求分析到量产交付的系统工程,通过科学的流程管理和专业的技术方案,为机器视觉应用提供精准的成像解决方案。

第一阶段:需求分析与技术评估
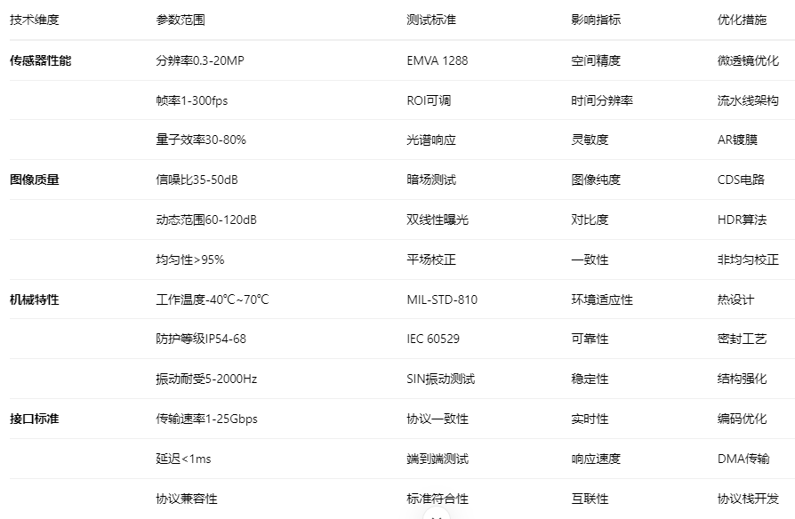
深度需求调研是定制成功的基石。需明确应用场景的具体要求:检测类应用侧重分辨率和对比度,测量应用关注几何精度和畸变控制,识别应用强调帧率和曝光方式。核心参数需要量化界定,包括分辨率(0.3-2000万像素)、帧率(1-300fps)、曝光时间(μs至分钟级)、信噪比(35-50dB)等。同时需评估环境因素:温度范围(-40℃至+70℃)、振动条件(5-2000Hz)、防护等级(IP54-68)和电磁兼容性(EN 55032标准)。
技术可行性分析需综合考虑传感器选型(CMOS/CCD)、接口方案(GigE/USB3.0/CoaXPress)和光学适配性。通过建模仿真预测系统性能,使用Modulation Transfer Function(MTF)评估解析力,通过Signal to Noise Ratio(SNR)分析图像质量。初步评估阶段需产出《需求规格说明书》和《技术可行性报告》,明确技术边界和风险点。
第二阶段:方案设计与原型开发
硬件设计采用模块化架构。传感器模块根据量子效率(QE)和满阱容量选择芯片,设计低噪声读出电路;图像处理模块集成FPGA实现Bayer插值、平场校正和降噪算法;机械结构采用有限元分析优化散热和抗振性能。电路设计遵循IPC-6012标准,信号完整性确保信噪比优于40dB。
软件开发包含底层驱动、中间件和应用层。SDK支持Windows/Linux系统,提供API函数库和样例代码。算法库包含图像增强、几何测量和缺陷检测模块。原型机制作需完成3轮设计迭代,每次迭代包含原理验证(POC)、工程样品(EVT)和设计验证(DVT)阶段。
工业相机定制关键技术参数

第三阶段:测试验证与可靠性评估
性能测试体系
光学测试需在暗室环境中进行。分辨率测试使用USAF 1951分辨率板,确保MTF曲线符合设计要求;色彩还原测试使用24色标准色卡,ΔE值控制在3.0以内;灵敏度测试通过阶跃曝光评估信噪比曲线。机械测试包含冲击振动试验(10G加速度,5-500Hz扫频)、高低温循环(-40℃至+70℃,100次循环)和防护等级验证(IP68浸泡试验)。
电气测试重点评估电磁兼容性。辐射发射测试需满足EN 55032 Class A标准,静电防护达到接触放电8kV/空气放电15kV。连续工作测试进行240小时不间断运行,验证系统稳定性。所有测试结果需形成《型式试验报告》,作为量产放行的依据。
应用场景验证
现场测试模拟实际使用条件。工业环境测试关注抗干扰能力,在变频器、电机等干扰源附近验证图像稳定性。光学适应性测试评估不同光照条件下的表现,包括强光抑制、低照度增强和频闪消除功能。兼容性测试确保与主流视觉软件(Halcon、OpenCV)的无缝集成。
可靠性验证采用加速寿命测试。高温高湿存储(85℃/85% RH,1000小时)评估材料老化特性,温度循环测试(-40℃~85℃,500次)验证连接可靠性。故障模式分析(FMEA)识别潜在风险点,制定预防措施。
第四阶段:量产交付与持续优化
量产质量控制
量产阶段建立严格的质量控制体系。来料检验对传感器、镜头等关键部件进行全检,使用自动化检测设备确保一致性。生产过程控制采用SPC统计过程控制,关键工艺参数CPK值大于1.67。成品检验执行AQL抽样标准,重点监控像素缺陷、色彩均匀性和功能完整性。
可追溯系统记录每个相机的生产数据,包括组件批次、工艺参数和测试结果。序列号管理系统支持全生命周期追踪,便于质量分析和售后服务。包装运输采用防震防静电设计,确保产品交付质量。
持续改进机制
建立客户反馈快速响应机制。使用数据分析监控现场故障率,针对性改进设计缺陷。定期发布固件升级,优化图像算法和性能表现。版本管理采用Semantic Versioning规范,确保软件兼容性。
平台化开发积累技术资产。模块化设计使60%的组件可复用,新项目开发周期缩短40%。知识库建设记录技术方案和问题解决方案,形成组织过程资产。生态合作与镜头、软件厂商建立战略合作,提供整体解决方案。
工业相机定制是技术要求高、环节复杂的系统工程。通过科学的流程管理、严谨的测试验证和持续的质量改进,可以打造出真正满足特定应用需求的高性能工业相机。随着技术的发展,定制过程将更加标准化、智能化,为机器视觉应用提供更强大的技术支持。成功的定制项目不仅需要专业技术,更需要深入理解应用场景,在性能、成本和周期之间找到最佳平衡点。
相关产品
-
高光谱数据的选取及特征波长的提取方法
高光谱成像仪获取的光谱信息含有很多的无用信息,因此就需要进行光谱数据的选取,在选取了有用的光谱数据后,就需要进行特征波长的提取,为预测模型的建立做准备。本文对高..
-
热红外高光谱成像仪常见分光方式及优缺点
热红外高光谱成像仪根据分光方式的不同,可以分为色散型、干涉型和滤光片型等类型,不同分光方式的热红外高光谱成像仪具有不同的优缺点。本文对热红外高光谱成像仪常见分光..
-
热红外高光谱成像仪背景抑制器设计方式有几种?
为防止仪器自身温度引起的热背景辐射淹没目标微弱的光谱信号,红外高光谱成像系统必须设计背景抑制器。本文对仍红外高光谱成像仪背景抑制器的三种类型:制冷型渐变滤光片、..
-
高光谱成像技术在生物医学方面的几点应用
高光谱成像技术作为精密的光学仪器,可以对被检测样品的形态和成分进行分析,因此在不同的行业有着广泛的应用。本文对高光谱成像技术在生物医学方面的几点应用做了介绍,感..













